中国电子网 - 电子行业门户网站 !

商业资讯: 行业分析 | 行业预测 | 市场行情 | 电子新品 | 设计技术 | 展会信息 | 行业动态 | 政策法规 | 国内新闻 | 国际新闻

你现在的位置: 首页 > 商业资讯 > 展会信息 > 龙虎榜丨东方电子今天涨停,两机构合计净卖出2.12亿元
Q.biz | 商业搜索

龙虎榜丨东方电子今天涨停,两机构合计净卖出2.12亿元

信息来源:ioocoo.com   时间: 2023-02-15  浏览次数:24

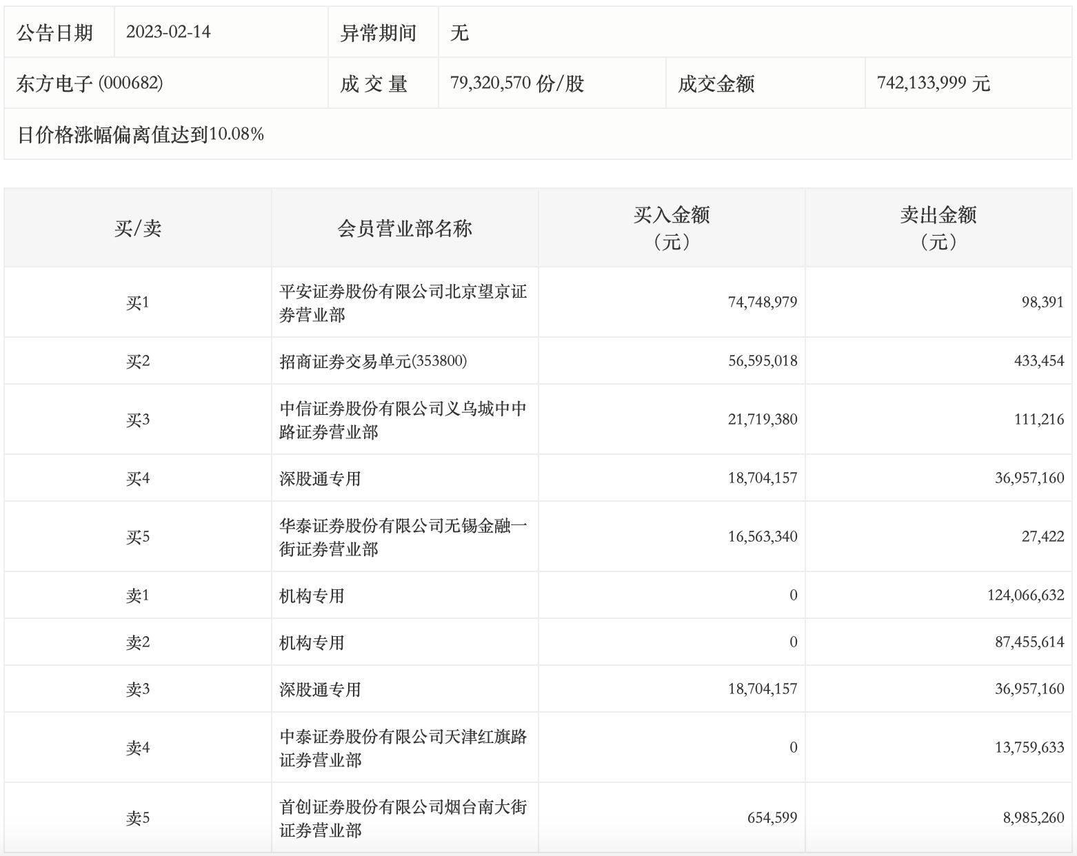
2月14日,东方电子今天涨停。盘后龙虎榜数据显示,2个机构出现在龙虎榜单上,合计净卖出2.12亿元;平安证券股份有限公司北京望京证券营业部买入7474.9万元,同时卖出9.84万元;中信证券股份有限公司义乌城中中路证券营业部买入2171.94万元,同时卖出11.12万元。

    ——本信息真实性未经中国电子网证实,仅供您参考